Home
Products
Contact
Catalogue
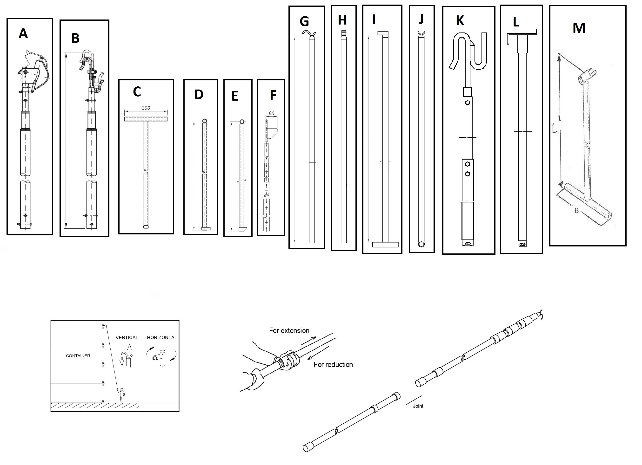
ACTUATOR POLES
DRAWING
IMAGE
Our Products
© 2019 MSA lashing. All rights reserved | Design by
Buraq Infotech
Top